Share this article

miHoYo Applied Multiple Trademarks of “-verse”, Suspectedly to Expand Its Metaverse Business

By Xueyang
Sep. 28, 2022 updated 01:00

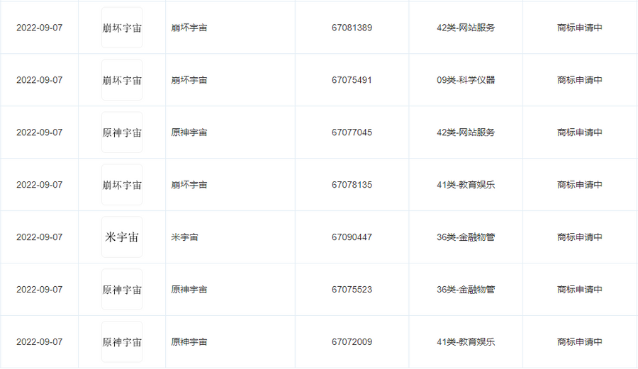
Chinese data technology service company Tianyancha shows that Shanghai HoYoverse recently applied for several trademarks of “原神宇宙” and “崩坏宇宙”, which were believed to be "Genshinverse" and "Honkaiverse" though no official English name has yet been announced. 

The international classification includes scientific instruments, website services, education, entertainment, etc. All the applications are currently pending.

Trademarks Applied by miHoYo, via TianyanchaTrademarks Applied by miHoYo, via Tianyancha

The trademark "HoYoverse" was registered in September and October of last year, eventually leading to miHoYo rebranding as HoYoverse as it aims to expand globally and create a broader content-driven virtual world that integrates games, anime, and more.

Source: Weibo